类型搜索称重传感器  重量变送器  压力传感器  力传感器  扭矩传感器   位移传感器  加速度传感器
    新闻分类
   新闻动态
   行业资讯
    产品列表
   美国VISHAY称重传感器,仪表
   美国称重传感器,仪表
   韩国称重传感器,仪表
   国内称重传感器,仪表
   意大利称重传感器,仪表
   德国称重传感器,仪表
   瑞士称重传感器,仪表
   中国台湾称重传感器,仪表
   英国称重传感器,仪表
   法国称重传感器,仪表
   日本称重传感器,仪表
   荷兰称重传感器,仪表
   西班牙称重传感器,仪表
   新西兰称重传感器,仪表
   韩国Daehan液位传感器,仪表
   奥地利温湿度传感器
   压力传感器汇总
   位移传感器汇总
   扭矩传感器汇总
   力传感器汇总
   加速度传感器汇总
   气体传感器汇总
   重量变送器,接线盒
 
    当前位置:传感器首页 > 行业资讯
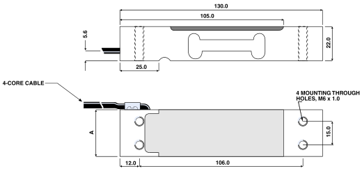
【1022-35kg】美国Tedea-Huntleigh 1022-35kg称重传感器,特迪亚1022-35kg传感器
发布人:称重传感器  发布时间:2015/8/11 8:57:13  点击量:1344
美国特迪亚-亨特利Tedea-Huntleigh 1022-35kg称重传感器,【广州★兰瑟电子】专业代理销售国内外知名品牌,公司一直以最专业的团队,最贴心的服务,最快速的响应,为用户提供优质的美国威世特迪亚vishay tedea 1022-35kg称重传感器及其技术服务,多年来一直引领着国际测量技术的发展。
美国威世特迪亚vishay tedea 1022-35kg称重传感器特征(Characteristics):
•容量范围(Capacity range):3公斤(kg)
•只有22毫米高(22 mm high)
•铝合金材料(Aluminum alloy material)
•单点350×350mm平台
 Platform, single point 350 x 350 mm
•IP66防护(protection)
•OIML R60和NTEP批准
 OIML R60 and NTEP approved
•EEx ia IIC T4 -防爆危险区域批准
 explosion-proof dangerous region for approval
•拥有FM认证(certification)
•对称配置(symmetric configuration)
美国特迪亚-亨特利Tedea-Huntleigh 1022-35kg称重传感器描述(describe):
1022-35kg称重传感器是一种低剖面单点式载荷电池设计,用于直接安装在低称重平台,它的小尺寸,结合高精度和铝合金材料的制造,使这种低成本的传感器非常适合零售,台、计数秤,属于铝制单点式产品,此外,威世特迪亚还有:S型称重传感器、不锈钢单点式称重传感器、梁式称重传感器、波纹管称重传感器、 阻尼称重传感器、柱式称重传器、轮辐式称重传感器、数字式称重传感器、称重模块、变送器等产品。(英译:1022-35kg weighing sensor is a low profile design of single point load cell, used for low installed directly on the weighing platform, its small size, combined with high precision and the manufacture of aluminum alloy material, make the low cost of sensor is very suitable for retail, table, counting scales, belong to product of aluminum single point, in addition, vishay, dia: S type weighing sensors, stainless steel single point weighing sensor, beam weighing sensor, corrugated pipe weighing sensor, damping weighing sensor, pillar type weighing apparatus, hub-and-spoke weighing sensor, the digital weighing sensor, weighing module, transmitter, and other products.)

传感器小知识之——传感器是如何工作的:

随着科技的发展,传感器亦得到了广泛应用,那么实际上传感器到底是如何实现工作的呢?今天就让小编就在这里为大家揭秘一下吧!首先,传感器会从一个稳压电源获得一个鼓动电压,加载力后,会回来一个信号。传感器的基地在于带有平衡电阻元件的应变片,然后,传感器信号通过A/D转换器转换为数字信号。当传感器上没有负载时,正负输出是持平的。加载重量后,一条信号线的电压添加,另一条信号线的电压降低了。两条信号线的电压差传输到A/D转换器中。

除美国Tedea外,我司其他热销品牌型号(详情请点击下方链接):

美国Sensortronics(STS)称重传感器

美国Hardy称重传感器

HBM扭矩传感器

韩国BONGSHIN称重传感器



上一篇:【1022-30KG】美国Tedea-Huntleigh 1022-30KG称重传感器,特迪亚1022-30KG传感器
下一篇:【1022-50kg】美国Tedea-Huntleigh 1022-50kg称重传感器,特迪亚1022-50kg传感器

 友情链接: .广州兰瑟电子阿里巴巴站  .广州兰瑟电子爱采购店铺  .钢尺水位计  .友进芯城  .电子元器件网上商城  .贴片电阻  .无缝钢管 

版权所有 © 广州兰瑟电子科技有限公司    备案号:粤ICP备2024295614号-1  
TEL:15322063181   FAX:020-39133900    E-MAIL:lanse-china@foxmail.com    ADD:广州市南沙区东涌镇吉祥东路6号768